欢迎访问 CPEM全国电力设备管理网!
官方微信|设为首页|加入收藏
cpem标语
   
顶部动图
智创奖
  • 金智信息
  • 国电南自
  • 深圳普宙
  • 联想
  • 国网信通
  • 中国交建
当前位置:首页 > 风光储氢

风电0.252元/度!新疆2025年增量新能源项目机制电价竞价结果公布

2025-10-16分类:风光储氢 / 风光储氢来源:新能源云
【CPEM全国电力设备管理网】

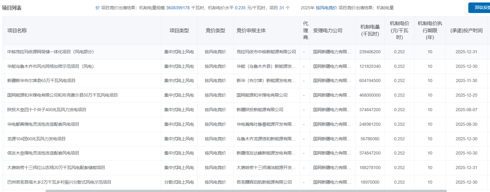
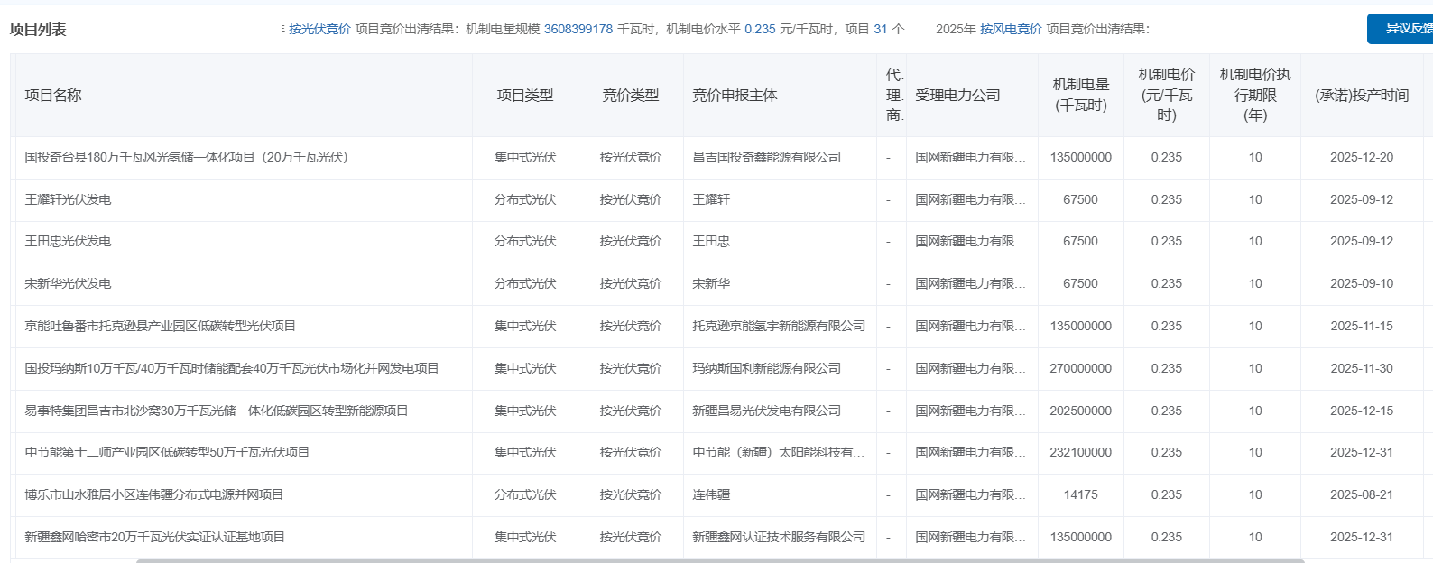
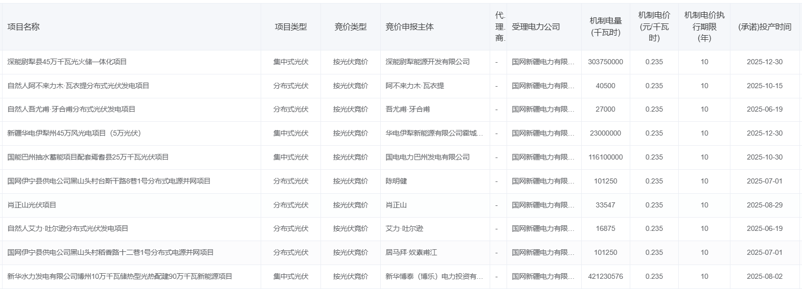
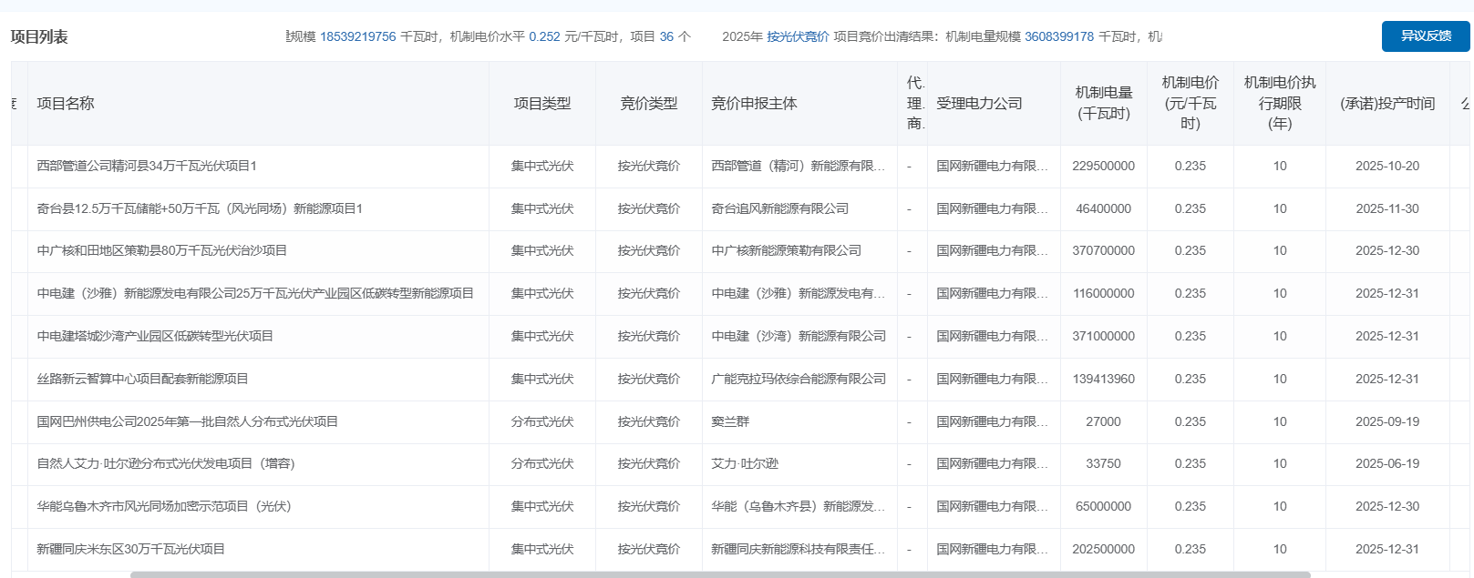
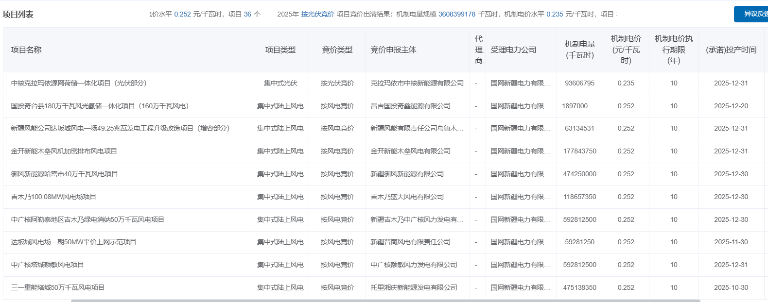
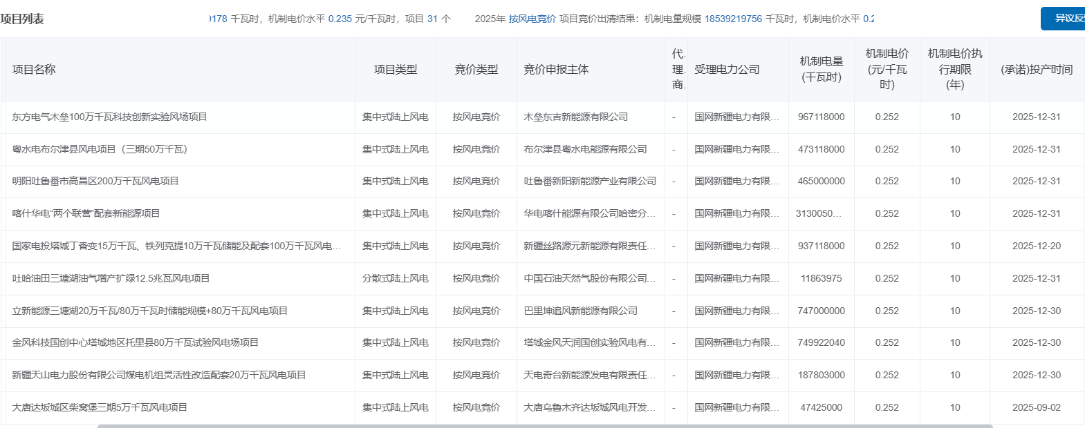
10月15日,国网新疆电力有限公司公示2025年度增量新能源项目机制电价竞价结果。

根据公示,风电机制电量规模18,539,219,756千瓦时,机制电价0.252元/千瓦时,项目36个,其中集中式陆风项目34个,分散式陆风项目2个;

光伏机制电量规模3,608,399,178千瓦时,机制电价0.235元/千瓦时,项目31个。

具体如下:


分享到:
相关文章
合作伙伴
  • 1
  • 2
  • 3
  • 4
  • 5
  • 6
  • 7
  • 8
  • 10
  • 11
  • 12
  • 13

logo.png

CPEM全国电力设备管理网  © 2016 版权所有    ICP备案号:沪ICP备16049902号-7