欢迎访问 CPEM全国电力设备管理网!
官方微信|设为首页|加入收藏
cpem标语
   
顶部动图
智创奖
  • 金智信息
  • 国电南自
  • 深圳普宙
  • 联想
  • 国网信通
  • 中国交建
当前位置:首页 > 风光储氢

风电1.8GW!青海公布27个新能源项目竞价资质

2025-10-30分类:风光储氢 / 风光储氢来源:国网新能源云
【CPEM全国电力设备管理网】

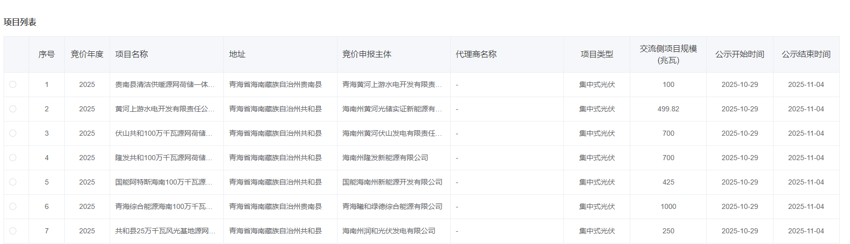
国网新能源云平台10月29日发布了参与青海省参与新能源竞价的资质审核结果。

共27个项目入选,总规模5475.91792MW。其中:

分布式光伏项目16个,总规模1.09792MW;

集中式光伏项目7个,总规模3674.82MW;

集中式陆上风电4个,总规模1800MW。

详情如下:


分享到:
相关文章
合作伙伴
  • 1
  • 2
  • 3
  • 4
  • 5
  • 6
  • 7
  • 8
  • 10
  • 11
  • 12
  • 13

logo.png

CPEM全国电力设备管理网  © 2016 版权所有    ICP备案号:沪ICP备16049902号-7